Дозаторы двойного действия
Unipack.Ru предлагает читателям цикл статей В. Н. Ульянова, посвященных технологиям дозирования и помещения в тару сыпучих продуктов. Продолжает цикл материал о дозаторах двойного действия.
Комбинационные дозаторы в свое время ввели совершенно новый подход к отмериванию дозы продукта по массе. А до появления «мультиголовок» при автоматическом дозировании использовался принцип прямого определения массы дозы, который продолжает находить свое применение и поныне.
Существовали, да и встречаются сейчас, дозаторы одинарного действия, где продукт поступает в весоизмерительную емкость потоком. По мере ее заполнения заслонка постепенно перекрывает поток, уменьшая поступление продукта. И когда количество продукта достигает требуемой величины, заслонка опускается окончательно, отсекая поток.
Должный эффект такое дозирование приносит редко, не всегда давая возможность получить нужную точность, а главное, не обеспечивая хорошей производительности дозаторов. Гораздо большее распространение получили весовые дозаторы двойного действия. Суть получения дозы здесь заключается в том, что в весоизмерительную емкость первоначально поступает большая (но не превышающая величину дозы) часть продукта, а потом происходит заполнение ее до требуемой массы. Первоначальную массу продукта обычно называют грубой или предварительной дозой, а вторичное заполнение точным или тонким дозированием, или на сленге упаковщиков «досыпкой».
Были попытки осуществить двойное дозирование с помощью комбинированной заслонки. Большая заслонка отсекала грубую дозу, а потом через небольшое отверстие в ней производилась досыпка, и по достижении нужной дозы отверстие закрывалось. Но, по сути, эти дозаторы были близки к дозаторам одинарного действия, со всеми их недостатками.
Наилучший эффект достигается, когда наполнение весоизмерительной емкости идет двумя потоками. Один поток осуществляет грубое, второй – тонкое дозирование. Конструкций весовых дозаторов двойного действия существует множество, какого-то подобия, если не классификации их, то хотя бы разбивки на группы по конструктивным особенностям, провести не удается. Имеется одно только деление: дозаторы, где предварительная доза отмеривается объемом, и дозаторы, где грубая доза определяется по массе. Первые распространены больше.
На рисунке 1-2 показан принцип устройства и работы весового дозатора двойного действия с объемным формированием грубой дозы. Продукт 1 поступает в приемную камеру 2 дозатора, где от него с помощью патрубка 3 отделяется поток тонкого дозирования 4. А основная масса продукта поступает в камеру грубого дозирования 5, снабженную верхней 6 и нижней 7 заслонками. По пути движения продукта установлены задвижки (условно показана одна) 8, положением которых регулируется поток продукта, его равномерность поступления, а также производительность дозатора. При закрытой нижней заслонке 7 верхняя заслонка 6, опускаясь, отсекает грубую дозу продукта 9. После чего открывается нижняя заслонка, и грубая доза поступает в весоизмерительную емкость 10. Отведенный ранее второй поток продукта через воронку 11 поступает на лоток тонкого дозирования 12. В данной конструкции этот лоток получает колебания, способствующие движению потока досыпки 13. С лотка 12 продукт тонкой, условно говоря, струйкой поступает в весоизмерительную емкость, доводя массу продукта в ней до требуемой величины дозы 14. При достижении нужной массы дозы, закрывается заслонка лотка точного дозирования 15, а вибрация самого лотка прекращается. Открывается заслонка весоизмерительной емкости 16, и доза продукта выходит на упаковывание.
Здесь не отражена кинематика дозатора, а также, то, как определяется масса дозы. Но выбранный в качестве примера весовой дозатор для крупы был в свое время очень распространен, подробное описание таких устройств зарубежного производства, а также их отечественных аналогов можно без особого труда найти в специальной литературе.
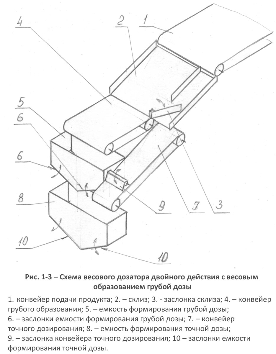
Также в общих чертах на рисунке 1-3 представлена одна из конструкций дозатора с весовым образованием предварительной (грубой) дозы и дальнейшим образованием точной дозы. Дозатор, взятый за основу этого рисунка, предназначен для формирования порции завернутой карамели. Продукт по конвейеру 1 попадает на склиз 2, поделенный перегородкой на два неравных по ширине участка. Первоначально заслонка лотка на склизе 3 находится в таком положении, что весь поток продукта попадает на конвейер 4, а с него в весоизмерительную емкость 5, где формируется грубая (предварительная) доза массой несколько меньшей, чем номинальная. Когда весоизмеритель емкости 5 определил эту массу, конвейер 4 останавливается, заслонки 6 емкости формирования грубой дозы открываются, и предварительная доза поступает в весоизмерительную емкость точного дозирования 8. Заслонка 3 меняет положение, и меньший поток продукта по правой части склиза 3 устремляется на конвейер 7, а с него в емкость точного дозирования 8. Когда доза продукта в емкости 8 достигла нужной величины, чтобы не случилось несанкционированного попадания туда продукта, заслонка 9, на конвейере точного дозирования опускается, а сам конвейер 7 отключается. Открываются заслонки 10 емкости формирования точной дозы 8, и доза продукта поступает на операции упаковывания.
Приходилось встречать сведения и о дозаторах тройного действия: вначале взвешивается грубая доза, по ее результатам отвешивается тонкая доза, затем, когда дозы соединены, производится третье, контрольное взвешивание. Но тройное взвешивание широкого распространения не нашло. Обычно для получения достаточно точной по величине дозы продукта хватает двух действий измерения массы.
Весовые дозаторы двойного действия при увеличивающейся применимости комбинационных дозаторов, несомненно, теряют свои некогда широкие позиции. Но полного их исчезновения в ближайшее время не произойдет. Они продолжают находить свое применение и развиваться. Прежде всего, они применяются для тех продуктов, которые еще не «освоили» мультиголовочные дозаторы, и для крупных доз продуктов, которые трудно получить на весовых дозаторах другого типа. Примером создания удачного современного весового дозатора двойного действия является дозатор, впервые показанный компанией «Таурас-Феникс» в 2007 году. Это устройство, названное авторами весовым дозатором проточного типа, предназначено для автоматов, фасующих самые разные продукты, включая порошкообразные, большими дозами. Благодаря тому, что дозатор выпускается в дуплексном исполнении, он позволяет получать достаточно высокую для крупной дозы продукта производительность – до 40 доз в минуту.
Одной из основных задач, стоящих перед разработчиками конструкций весовых дозаторов двойного действия, является получение стабильного равномерного потока продукта при грубом (предварительном) и особенно при тонком (окончательном) дозировании. Регулирование потоков может осуществляться разными способами: например, изменением положения заслонок на трассе движения продукта, или придания им трассы особой формы, например, зигзагообразной. Еще один из способов стабилизации потока с целью равномерного поступления его в весоизмерительную емкость – это вытянуть его в линию, вроде, как в дозаторе на рисунке 1-3.
Subscribe to our news in social networks and newsletter:
Source: Unipack.Ru
All rubric articles All articlesSearch
